How to Measure

The goal when measuring your jamb for our exterior steel bi-fold doors is to get the measurement from the outermost finishing of your exterior (stucco, brick, concrete, wood, etc.) to the face of the drywall inside. To get this measurement, make sure that you're including all parts of the building materials and the finishings.

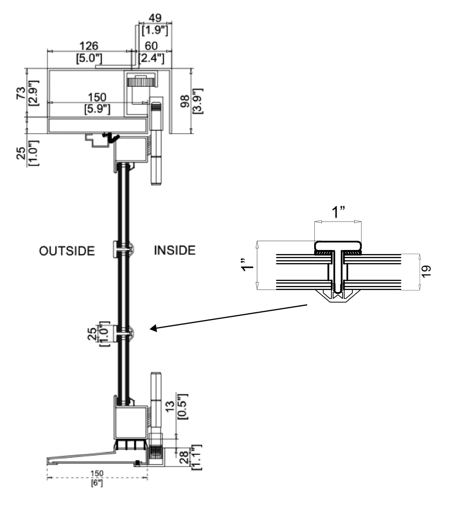
Cut Sheet & Rough Opening Details

Rough Opening Details

Bi-Fold Doors

Rough Opening Details Diagram for Bi-Fold Doors

Steel Bi-Fold Doors

In-Swing

2 Panel Bi-Fold Cut Sheet In Swing 01
Cut Sheet for Standard Bi-Fold Accordion Steel Door In-Swing

Cut Sheet: Steel Bi-Fold Doors

Out-Swing

2-Panel Bi-Fold Steel Door Cut Sheet 01
Cut Sheet for Standard Bi-Fold Accordion Steel Door Out-Swing
Cut Sheet Bore Hole Details for Single Steel Doors

Threshold

These exterior steel bi-fold door thresholds thresholds are made from one continuously piece cold-rolled air series steel, with a flatbar added to the bottom, increasing the structural integrity of the unit. An aluminum u-channel is integrated into the threshold of these bi-fold doors, stabilizing the lower guide pin rollers and allowing the doors to fold smoothly.

Detail Photo of steel bi-fold threshold

In-Swing Threshold

  • Thickness (height) from the interior side: 1.1”
  • Thickness (height) from the exterior side: 1/4”
  • Depth: 6”

Out-Swing Threshold

  •  Thickness (height) from the interior side: 2”
  • Thickness (height) from the exterior side: 1.1”
  • Depth: 6”
2 Panel Bi-Fold Out-Swing Threshold Diagram

Specs & Materials

Frame & Jamb

These standard exterior steel bi-fold doors are pre-hung and include the door panels and broken down frame (packaged separately for ease of transport and installation). The frame is assembled via bolts that are included with your order. A top cover cap is also included to hide the top rolling hardware on the upper portion of the frame. The jamb size is measured at 6” deep (net size) and made from cold-rolled air series steel. Custom jamb sizes are available via our made to order section.

Unfinished Double Door Jamb Cross Section
Finished Double Door Jamb Cross Section with Hinge
Deconstructed Bi-Fold Steel Door Frame

Strike Plates

Strike plates, which are typically included when purchasing a lockset, are the plates that receive the throws of the latch and deadbolt and secure your door in place. All of these exterior steel bi-fold doors come with laser cut strike plate openings on the frame of the door, and feature pre-drilled and pre-tapped holes for machine screws.

Steel Door Showing Strike Plates
Latch Lock Strike Diagram
Deadbolt Lock Strike Plate Diagram

Hinges

These exterior steel bi-fold doors come standard with modern bullet hinges, and include a screwed in grease fitting, allowing you to maintain and grease the hinges regularly via a standard grease gun. 

One copper crushed washer per hinge is included and required prior to hanging the door onto the frame. These washers protect the hinges by introducing a softer copper metal between the 2 hinge components in order to absorb the friction and allow the doors to swing smoothly. This hinge system is far superior to ball bearing systems, as the bearings are made of stainless steel, which is a harder metal inside a steel barrel, causing ware to both components and sagging over time.

Unfinished double door hinge
Finished Double Door Hinge

Bi-Fold Folding Hardware

These exterior steel bi-fold doors include all necessary rolling / hinge hardware for the doors to function. Below is a list of parts included with all these standard bi-fold doors.

Details of Steel Bi-Fold Door Parts

[1] Upper Roller Assembly: Installed in the upper track of the bi-fold frame, supporting the weight of the doors.

[2] Guide Pin: Used on lower hinge to stabilize and guide the folding of the doors

[3] Flush Bolt Handle: Used to lock and unlock the flush bolts from the frame, allowing the panels to open and fold (2-panel bi-folds will include one double sided handle with keyed cylinder).

[4] Lower Hinge Adjustment Assembly: Installed in lower hinge, used to micro-adjust the doors level.

[5] Assist Handle: Used to assist in the folding of the doors (Not applicable to all bi-fold doors)

[6] Screw Pack: Used to secure the cover plate to the top track.

Closeup of Bi-Fold Accordion Steel Door Latch and Hinges
Detail Shot of Bi-Fold Hardware
Detail Shot of Bi-Fold Hardware Bottom

Astragal

An astragal is the welded component on the doors that provide a seal preventing exterior elements such as air and light from penetrating into the home. These standard steel exterior bi-fold doors come equipped with an astragal on each door panel, ensuring a tight seal and preventing exterior elements from entering your interior space, adding to the efficiency of the doors.

Astragal detail on double door

Weather Stripping

These standard steel exterior bi-fold doors come standard with dual foam weather stripping. This weather stripping comes pre-installed around the entire frame of the door, as well as down the full length of the astragals. This full suite of weather stripping acts as a barrier from outdoor elements and helps prevent cold or hot air from leaking out of the home, resulting in a much more energy efficient product.

Macro Photograph of Weather Stripping on a Steel Door

Sweep

These standard steel exterior bi-fold doors come with pre-installed rubber door sweeps at the bottom of each door leaf. These door sweeps create a tight seal between the threshold and the door leafs themselves, preventing outside elements from entering your home. This simple yet effective feature helps insulate your space, improving energy efficiency.

Closeup photo of a door sweep

Foam

These standard steel exterior bi-fold doors come filled with a polyurethane foam core, which acts as a sound deadening material, and also provides some insulating properties for better energy efficiency. The foam also helps prevent moisture from accumulating inside the steel tubes, contributing to the door's longevity.

Please note, this foam should not be confused with a thermally broken barrier. For more extreme weather conditions dropping below 27 degrees Fahrenheit, please inquire about our thermal break models.

Closeup of unfinished steel door frame filled with foam
Closeup of unfinished steel door threshold filled with foam

Mounting Tabs

These standard steel exterior bi-fold door frames feature welded mounting tabs designed to be installed from the interior of your space. The tabs are inset to allow for 5/8” drywall to be installed flush with the face of the frame. Each tab features two pre-drilled lag holes for a more flexible installation, though only one lag bolt per tab is required.

Closeup of unfinished steel door mounting tabs
Closeup of finished steel door mounting tabs

Door Thickness

These standard steel exterior bi-fold door leafs come standard at 2” thick, providing both security and durability. Keep this thickness in mind when sourcing locks, as some locks will not be compatible with a 2” thick door without the inclusion of a thick door kit (based on lock manufacturer's availability).

Closeup of steel door hardware showing thickness

Metals

Steel doors offer many more enhanced security features when compared to their wood, fiberglass, vinyl, or aluminum counterparts. These standard steel exterior bi-fold doors are made with cold-rolled air series steel, which contains a galvanized mix to help prevent corrosion and rust over time. A unique feature of this cold-rolled air series steel is that it is made from a single, continuous piece of rolled metal, eliminating the need for additional welds and fillers. This results in a stronger, more durable product, eliminating weak points from paint cracking and water intrusion.

Samples of finished steel in colors
Closeup of unfinished steel frame with hinges and roller catch
Macro Shot of Steel Door Weld
black steel entry and patio doors for residential and commercial applications

FAQs

How do I measure my jamb?

The goal is to get the measurement from the outermost finishing of your exterior (stucco, brick, concrete, wood, etc) to the face of the interior drywall.

How thick are your exterior steel bi-fold door jambs? 

These exterior steel bi-fold door jambs come standard at 6” thick. Custom jamb sizes are available via our made to order section.

Is the jamb the same thing as the frame? 

The jamb refers to the vertical components of the overall door frame. The jamb size refers to the thickness of those vertical components.

How does the frame mount to the wall? 

These standard steel exterior bi-fold doors feature welded mounting tabs designed to be installed from the interior of your space. The tabs are inset to allow for 5/8” drywall to be installed flush with the face of the frame. Each tab features two pre-drilled lag holes for a more flexible installation, though only one lag bolt per tab is required. Bolt through applications or nailer fins are available via request through our custom sales team.

Is the jamb included with the door?

Yes, the jamb is a component of the frame, which is made specifically for the door that it is packaged with.

Is the jamb/frame galvanized or zinc coated?

Yes, these exterior steel bi-fold door jambs and frames contain a galvanized mix to help prevent corrosion, rust, and finish issues when exposed to damp or moist conditions over time.

How is the jamb insulated?

We use a polyurethane foam filling in our exterior steel bi-fold doors jambs for sound deadening purposes, which also provides some insulating properties. Please note, this foam should not be confused with a thermally broken barrier. For more extreme weather conditions dropping below 27 degrees Fahrenheit, please inquire about our thermal break models.