How to Measure

The goal when measuring your jamb for our exterior steel double doors is to get the measurement from the outermost finishing of your exterior (stucco, brick, concrete, wood, etc.) to the face of the drywall inside. To get this measurement, make sure that you're including all parts of the building materials and the finishings.

Cut Sheet & Rough Opening Details

Rough Opening Details

Flat Top Double Doors

Arch Top Double Doors

Steel Double Doors

In-Swing

Steel Double Door (In-Swing) Cut Sheet
Steel Double Door (In-Swing) Cut Sheet

Cut Sheet: Steel Double Doors

Out-Swing

Steel Double Door (Out-Swing) Cut Sheet 001
Steel Double Door (In-Swing) Cut Sheet 002
Bore Hole Cut Sheet for Steel Double Doors

Threshold

These exterior steel double door thresholds differ slightly from in-swing to out-swing models, however both have an exterior side that slopes gently downward. These thresholds are made from one continuously piece cold-rolled air series steel, with a flatbar added to the bottom, increasing the structural integrity of the unit.

Cross section of In-Swing Threshold
Cross section of In-Swing Threshold with Foam

In-Swing Threshold

  • Thickness (height) from the interior side: 1.18”
  • Thickness (height) from the exterior side: 1/4”
  • Depth: 6”
In-Swing Threshold Cut Sheet

Out-Swing Threshold

  •  Thickness (height) from the interior side: 1.18”
  • Thickness (height) from the exterior side: .31”
  • Depth: 6”

Specs & Materials

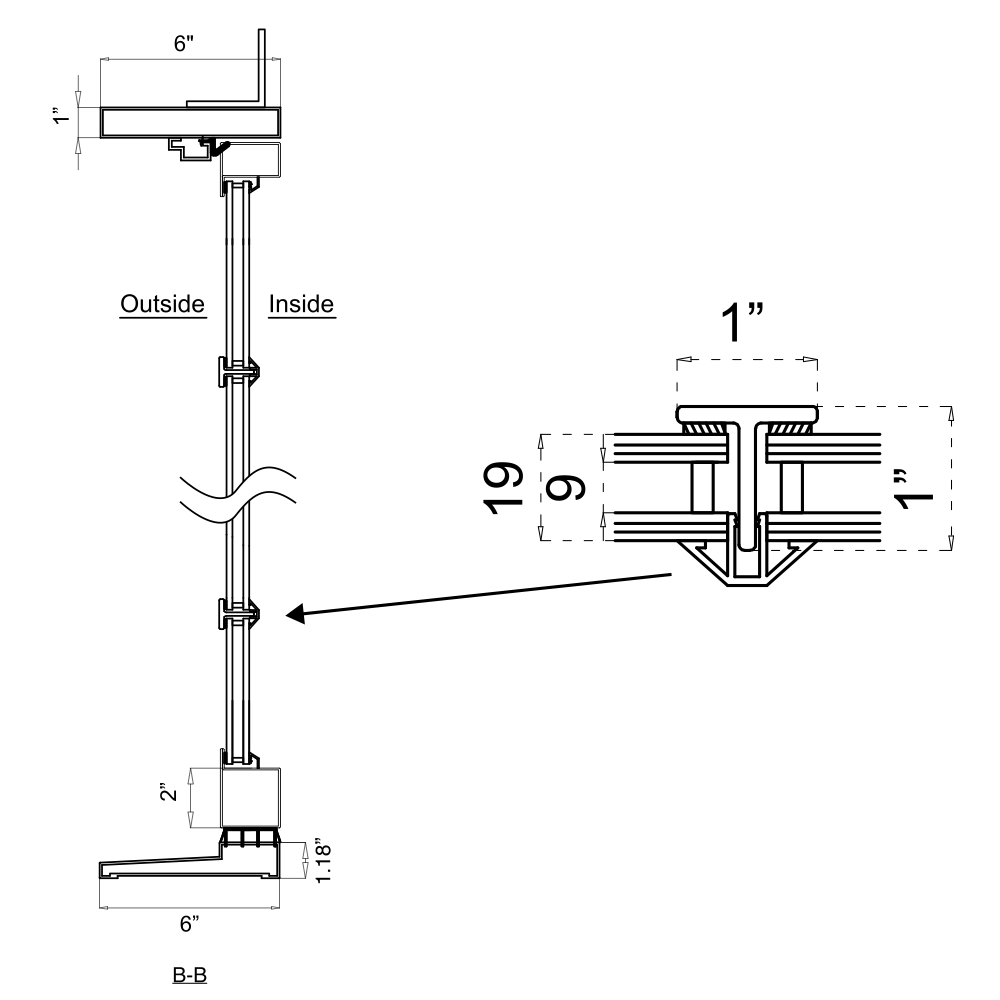
Frame & Jamb

These standard exterior steel double doors are pre-hung and include both the doors and fully assembled frame (packaged separately for ease of transport and installation). The jamb size is measured at 6” deep (net size) and made from cold-rolled air series steel. Custom jamb sizes are available via our made to order section.

Unfinished Double Door Jamb Cross Section
Finished Double Door Jamb Cross Section with Hinge

Strike Plates

Strike plates, which are typically included when purchasing a lockset, are the plates that receive the throws of the latch and deadbolt and secure your door in place. All of these exterior steel double doors come with laser cut strike plate openings on the dummy leaf door, and feature pre-drilled and pre-tapped holes for machine screws.

Steel Door Showing Strike Plates
Latch Lock Strike Diagram
Deadbolt Lock Strike Plate Diagram

Roller Catch

These steel exterior double doors come standard with adjustable roller catches on both the top and bottom of the doors. Adjustments can be made using a standard Phillips screwdriver in order to fine-tune the mechanism. These roller catches allow the doors to “catch” into place, providing additional seal properties for taller doors, as well as assisting your locking system with further longevity.

Flush Bolt

These exterior steel double doors are equipped with flush bolts installed on both the top and bottom of the inactive dummy leaf door. When engaged, these flush bolts will secure the dummy leaf door into the frame. On taller doors, we use a longer rod on the upper flush bolt for ease of access. When disengaged, both doors can fully open, allowing larger items like furniture to pass through more easily, while also creating a more open concept when entertaining guests.

Hinges

These exterior steel double doors come standard with modern bullet hinges. The frame will have the bottom portion of the hinges welded on (Hinge and male pin). The top receiving portion of the hinge will be welded onto each door leaf, and include a screwed in grease fitting, allowing you to maintain and grease the hinges regularly via a standard grease gun. 

One copper crushed washer per hinge is included and required prior to hanging the door onto the frame. These washers protect the hinges by introducing a softer copper metal between the 2 hinge components in order to absorb the friction and allow the doors to swing smoothly. This hinge system is far superior to ball bearing systems, as the bearings are made of stainless steel, which is a harder metal inside a steel barrel, causing ware to both components and sagging over time.

Unfinished double door hinge
Finished Double Door Hinge

Astragal

An astragal is the welded component on the doors that provide a seal preventing exterior elements such as air and light from penetrating into the home. These standard steel exterior double doors come equipped with an astragal, but the location of that astragal will vary depending on the swing of the door.

Double Doors (Outswing) - Astragal will be welded on the exterior of the active leaf door and seal against the inactive dummy leaf door when in the closed position.

Double Doors (Inswing) - Astragal will be welded on the exterior of the inactive dummy leaf door and seal against the active leaf door when in the closed position.

Astragal detail on double door

Weather Stripping

These standard steel exterior double doors come standard with dual foam weather stripping, which comes pre-installed around the entire frame of the door, as well as down the full length of the center astragal. This full suite of weather stripping acts as a barrier from outdoor elements and helps prevent cold or hot air from leaking out of the home, resulting in a much more energy efficient product.

Macro Photograph of Weather Stripping on a Steel Door

Sweep

These standard steel exterior double doors come with pre-installed rubber door sweeps at the bottom of each door leaf. These door sweeps create a tight seal between the threshold and the door leafs themselves, preventing outside elements from entering your home. This simple yet effective feature helps insulate your space, improving energy efficiency.

Closeup photo of a door sweep

Foam

These standard steel exterior double doors come filled with a polyurethane foam core, which acts as a sound deadening material, and also provides some insulating properties for better energy efficiency. The foam also helps prevent moisture from accumulating inside the steel tubes, contributing to the door's longevity.

Please note, this foam should not be confused with a thermally broken barrier. For more extreme weather conditions dropping below 27 degrees Fahrenheit, please inquire about our thermal break models.

Closeup of unfinished steel door frame filled with foam
Closeup of unfinished steel door threshold filled with foam

Mounting Tabs

These standard steel exterior double door frames feature welded mounting tabs designed to be installed from the interior of your space. The tabs are inset to allow for 5/8” drywall to be installed flush with the face of the frame. Each tab features two pre-drilled lag holes for a more flexible installation, though only one lag bolt per tab is required.

Closeup of unfinished steel door mounting tabs
Closeup of finished steel door mounting tabs

Door Thickness

These standard steel exterior double door leafs come standard at 2” thick, providing both security and durability. Keep this thickness in mind when sourcing locks, as some locks will not be compatible with a 2” thick door without the inclusion of a thick door kit (based on lock manufactures availability)

Closeup of steel door hardware showing thickness

Metals

Steel doors offer many more enhanced security features when compared to their wood, fiberglass, vinyl, or aluminum counterparts. These standard steel exterior double doors are made with cold-rolled air series steel, which contains a galvanized mix to help prevent corrosion and rust over time. A unique feature of this cold-rolled air series steel is that it is made from a single, continuous piece of rolled metal, eliminating the need for additional welds and fillers. This results in a stronger, more durable product, eliminating weak points from paint cracking and water intrusion.

Samples of finished steel in colors
Closeup of unfinished steel frame with hinges and roller catch
Macro Shot of Steel Door Weld
black steel entry and patio doors for residential and commercial applications

FAQs

How do I measure my jamb?

The goal is to get the measurement from the outermost finishing of your exterior (stucco, brick, concrete, wood, etc) to the face of the interior drywall.

How thick are your exterior steel double door jambs? 

These exterior steel double door jambs come standard at 6” thick. Custom jamb sizes are available via our made to order section.

Is the jamb the same thing as the frame? 

The jamb refers to the vertical components of the overall door frame. The jamb size refers to the thickness of those vertical components.

How does the frame mount to the wall? 

These standard steel exterior double doors feature welded mounting tabs designed to be installed from the interior of your space. The tabs are inset to allow for 5/8” drywall to be installed flush with the face of the frame. Each tab features two pre-drilled lag holes for a more flexible installation, though only one lag bolt per tab is required. Bolt through applications or nailer fins are available via request through our custom sales team.

Is the jamb included with the door?

Yes, the jamb is a component of the frame, which is made specifically for the door that it is packaged with.

Is the jamb/frame galvanized or zinc coated?

Yes, these exterior steel double door jambs and frames are treated with a galvanizing spray before the doors go into their paint process. This galvanization helps prevent finish issues when exposed to damp or moist conditions.

How is the jamb insulated?

We use a polyurethane foam filling in our exterior steel double doors jambs for sound deadening purposes, which also provides some insulating properties. Please note, this foam should not be confused with a thermally broken barrier. For more extreme weather conditions dropping below 27 degrees Fahrenheit, please inquire about our thermal break models.